来自搜狐网:https://www.sohu.com/a/154044086_584648
2017-07-03 16:29
气动隔膜泵高吸程装置包括一隔膜泵,其上设有一进口、出口,并与一进气管相连接,进气管与一气源输入管道相连通并依次通过一手动球阀、空气过滤调压阀和漏式球阀后与该隔膜泵的进气口相连接,在进口处连接一第一管道,该第一管道的另一开口竖直向下并连接一三通的第一端,该三通的第二端通过一气管与气源输入管道相连通,且该气管上设有一手动球阀和一空气过滤调压阀,三通的第三端连接竖直向下的第二管道,该第二管道上设有底阀。
第二管道低端还连有一滤清器。
底阀为单向阀。
气源为压缩空气。
气动隔膜泵高吸程节能装置能将泵的吸程提高20米,使用更加方便、节省能源、提高效益。

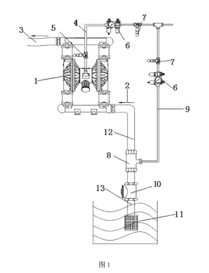
图1为结构示意图
图中:1,隔膜泵;2,进口;3,出口;4,进气管;5,漏式球阀;6空气过滤调压阀;7,手动球阀;8,三通;9,气管;10,底阀;11,滤清器;12,第一管道;13,第二管道。
具体实施方式
如图1所示,一种气动隔膜泵高吸程节能装置,包括一隔膜泵1,其上设有一进口2、出口3,并与一进气管4相连接,进气管4与一气源输入管道相连通并依次通过一手动球阀7、空气过滤调压阀6和漏式球阀5后与该隔膜泵1的进气口相连接,在进口2处连接一第一管道12,该第一管道12的另一开口竖直向下并连接一三通8的第一端,该三通8的第二端通过一气管9与气源输入管道相连通,且该气管9上设有一手动球阀7和一空气过滤调压阀6,三通8的第三端连接竖直向下的第二管道13,该第二管道13上设有底阀10。
本实施例中,第二管道13的低端设有一滤清器11,并竖直伸入水里,该滤清器由漏网组成,可防止杂物进入隔膜泵中,增加隔膜泵的使用寿命;底阀10为单向阀,使水吸入则不会落回;气源为压缩空气。
使用时,打开进气管上的手动球阀7和空气过滤调压阀6以及漏式球阀5,调节进气量,给隔膜泵1一定的气压,隔膜泵1开始工作,水被隔膜泵1吸起,进入隔膜泵1中,此时,隔膜泵1的吸程只能达到7.6米左右,无法将再低的水吸出;打开气管9上的手动球阀7和空气过滤调压阀6,调节气压,使空气成小气泡状从三通8中通过竖直的第一管道12进入隔膜泵1中,此刻隔膜泵1的吸程得到大大的提高,可以增加约20米的吸程。
本实施例的这一套气动隔膜泵高吸程节能装置系统,可成功地将船底20米以下的污水,源源不断的泵送到上面,运行非常平稳,使气动隔膜泵在船舶行业的使用,有了很好的前景;使气动隔膜泵在高吸程领域,有了可靠的保证,有可靠的实用价值。







